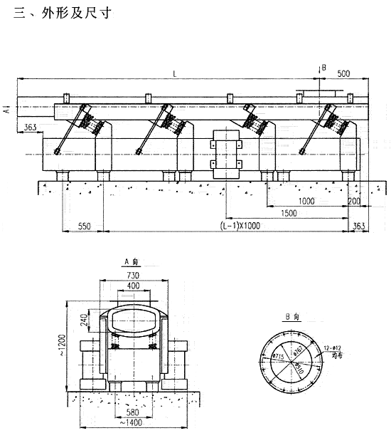
遠程振動輸送機是專門為電站煤粉配倉設計的雙向防爆型埋刮板輸送機,它使用雙層槽中間段,上下走料,可以多點加卸料。遠程振動輸送機共有四種機型,輸送量可高達175t/h。
遠程振動輸送機不能輸送粘性強的物料和易破損的物料以及含氣的物料,但是可以輸送具有磨琢性、化學腐蝕性的或有毒的散狀固體物料,甚至輸送高溫物料。
遠程振動輸送機結構簡單、安全可靠、操作方便、初始價格較高、維護費用較、低,運行費用較低等優點。


江蘇信發振動機械有限公司
遠程振動輸送機是專門為電站煤粉配倉設計的雙向防爆型埋刮板輸送機,它使用雙層槽中間段,上下走料,可以多點加卸料。遠程振動輸送機共有四種機型,輸送量可高達175t/h。
遠程振動輸送機不能輸送粘性強的物料和易破損的物料以及含氣的物料,但是可以輸送具有磨琢性、化學腐蝕性的或有毒的散狀固體物料,甚至輸送高溫物料。
遠程振動輸送機結構簡單、安全可靠、操作方便、初始價格較高、維護費用較、低,運行費用較低等優點。


? 2024 江蘇信發振動機械有限公司 備案號:蘇ICP備12071433號-1
蘇公網安備 32062102000309號
技術支持:天正企劃